Vijaki z ugreznjeno glavo Imbus

Skupna šifra: VIJAK_UGR_GLAVA_IMBUS
Želite sočasno naročiti več izdelkov? Pojdi na hiter vnos
Prijavite se za prikaz cen in zalog.

Vas zanimajo pogoji dostave?

Podrobnosti o izdelku
Specifikacije
Dokumentacija
Pišite nam za dodatne informacije

Vijaki z ugreznjeno glavo Imbus

Vijaki z ugreznjeno glavo Imbus so namenjeni estetskemu in funkcionalnemu pritrjevanju, kjer mora glava vijaka poravnati s površino materiala. Šesterokotni (imbus) pogon omogoča zanesljiv prenos navora in varno pritrditev tudi pri višjih obremenitvah.

Lastnosti:
- Ugreznjena glava za poravnavo s površino
- Šesterokotni imbus pogon
- Visoka trdnost in natančnost navoja
- Odlična odpornost proti obrabi
- Primerni za kovinske, lesene in kompozitne konstrukcije

Material:
- Kakovostno jeklo, lahko s površinsko zaščito (črneno, pocinkano, nerjavno)

Uporaba:
- Strojegradnja
- Montažni sklopi in konstrukcije
- Pohistvo in tehnični izdelki
- Aplikacije, kjer je pomemben raven videz površine

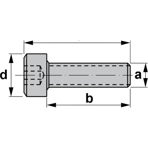
Specifikacije
Lastnost Vrednost
a M4, M6x1
b 6,1, 16
c 8,6, 21,9
d 6,9, 9,75
Ključ A2.5, A5
Navor 2.0, 4.0

Izberite različico

Ključ:
d:
b:
Navor:
a:
c:
Slika Šifra Naziv Ključ d b Navor a c
1394 VIJAK M4x0,7mm L=8,6mm SW2,5 A2.5 6,9 6,1 2.0 M4 8,6
1696 VIJAK 1696 - za zatezni element A5 9,75 16 4.0 M6x1 21,9
Zadnji ogledani izdelki
Šifra izdelka: TCGW-1N-W

Stružne ploščice TCGW-1N

Šifra izdelka: DNGA-2N-W

Stružne ploščice DNGA-2N

Šifra izdelka: 603625000

BRUSILKA KOTNA WEV 11-125 QUICK METABO

Šifra izdelka: VCGW-1N-W

Stružne ploščice VCGW-1N

Šifra izdelka: 603627000

BRUSILKA KOTNA W 13-125 QUICK METABO

Šifra izdelka: M200_4CS_45

Rezkar palični VHM M200 45°